许多客户都对粉末的运用率要求很高,而上粉率是对运用率最具体的表现。上粉率的影响因素比较多,例如树脂份,粒度,流动性,树脂品种等等,金属粉与普通粉也有差异,别的再加一些查验办法。
这个论题可大可小,是一个集资料、配方规划、运用一体的系统工程,所以本文只是结合粉末涂料的一些特点,对一些大家比较关注的点打开部分讨论。并总结了上粉率的一些检测办法供大家参阅。
1、粉末涂料简介
跟着人们对环保的认识日益进步,国家法律法规对环保的要求也越来越严格,一些污染的涂装工艺逐步受到了限制。
在这种条件下,为了最大限度下降对环境的污染,对工程机械职业所用涂料及涂装工艺提出了更高的要求。
因为粉末涂料与传统溶剂型涂料比较,更具有经济性和环保性。近年来,跟着粉末涂料新产品和新技术的不断开发,使其在许多范畴得到了开展。
2、上粉率的意义及背景
粉末涂料的上粉率,也可理解为粉末喷涂工件的覆盖率,在确保粉末涂膜的外观、机械功能等前提下,单位耗粉量是客户最重要的出产本钱操控目标,所以粉末涂料的上粉率显得非常重要。
打开来讲,喷枪的一次上粉率更为重要,第一次喷涂到工件上的粉末数量与总出粉量(包括未喷上而被收回的粉末数量)之比,称之为堆积效率。粉末的收回量巨细与堆积效率成反比,堆积效率越高,则粉末收回量越小。
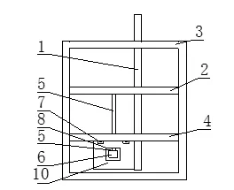
结合粉末涂料为100%固体涂料的特点,过喷的粉末涂料能够收回再用,一般喷涂设备由喷涂系统和收回系统组成(如图1)。
所以上粉率在这里显得尤为重要,抱负状态下咱们期望喷出的涂料100%吸附在工件上,没有任何涂料进入收回系统。
因为进入收回系统后的涂料在流动性,粒度,粉体物性上都有变化,特别是金属作用粉末涂料,直接影响到是否能重复运用的问题。
而现实状况是因为喷涂系统、粉体特性、工件形状等因数的影响,粉末涂料一次上粉率正常都在60%以下,有些乃至低于30%(譬如一些篮框等异型工件)。

3、影响上粉率的因数
一、粉末涂料本身的带电性
(一)影响上粉率的因数许多,从喷涂角度考虑(如图2),粉末涂料从喷涂系统出来后受到压缩空气推动力(蓝色)、空气阻力(黄色)、粉体重力(绿色)、静电力(赤色);
抱负状态是当粉末挨近所需喷涂的工件时,压缩空气推动力、空气阻力、重力其合力为0,粉漆颗粒仅在静电力的作用下吸附到工件外表。
由此咱们能够推断出惯例影响粉末上粉率的因数主要是粉末涂料粉体带电性。依据库伦规律,在一定时间内,粉末涂料颗粒的带电量有如下的公式(图2) ①,可见经过进步粉末涂料的带电功能够显着进步粉末涂料的上粉功能。

(二)进步粉末涂料的带电性办法各家都有不同的见地,咱们开始总结,能够从4个方面着手:
(1)操控粉末涂料颗粒粒度及散布。有图3能够得知粉末带电量与粉末粒径的平方成正比。所以理论上颗粒粗,带电量会添加,但粒度粗了,外表作用会变差。
所以咱们实践出产中经过配方规划,以及调整设备的工艺参数,例如喂料/磨的速度将均匀粒度操控在合理规模内,搭档需求操控粒度散布。
过小的粒径(10um以下)上粉率比较差,所以粒度散布越窄越好,一般操控在35um左右。过粗、过细粒径所占比例越少越好。
(2)粉末配方规划树脂份的比例。配方中高分子有机物(俗称树脂份)的含量决议这个粉末的带电功能,理论上树脂份越高,粉末的带电功能越高。
但因为市场竞争激烈,从本钱考虑尽可能的削减树脂份,削减颜基比,添加填料含量成了必然。
笔者以为,没有适宜的树脂份作为基础,进步粉末上粉率很难。现在也有许多客户经过丈量烧蚀份来检测粉末的有机物含量来查验粉末,客户也懂得树脂份的含量决议着粉末上粉率及运用率。
(3)粉末流动性/水分等物性目标的操控:粉末涂料在制造进程中的水分含量及粉体流动性也密切关系到上粉率。
在设备清洗或天气及冷凝水的影响下,粉末或多或少的会含一部分水份,会直接影响到粉末上流动性和涂膜外表,也下降上粉率,所以咱们要经过削减水洗设备,操控进风口湿度,削减高湿度天气出产等手法削减水份进入粉体。
别的运用气相二氧化硅和氧化铝C等流动助剂进步粉体流动性也是进步上粉率的有效办法。需求注意的是流动助剂的品种及流动性的巨细需求结合粉末涂料出产的工艺、空气气温、湿度和客户的设备需求做相应调整。
(4)添加带电助剂:在粉末涂料中参加抗静电剂或电荷调节剂可下降粉末的外表电阻使粉末更好地堆积到工件的外表上,也改进了静电喷涂中法拉弟效应的发生。
就静电涂装而言,在接地工件和喷枪电极之间施加了一个很强的电压并发生很强的静电场。
因为施加的电压足够高使得在枪尖部分发生CORONA放电,CORONA放电是一种冷态的等离子体,它会在放电区域发生许多的电子并充斥在电极和工件之间。
这些电子会吸附在空气的分子中发生带负电荷的离子,这些带电的离子会吸附在粉末粒子上并跟着喷涂进程在工件上堆积。
事实上粉末粒子的带电效率是非常低的,大约只有0.5%,其它大部分为自在离子,它们会跟着喷涂进程吸附在被涂外表并发生累积直至排斥或放电停止,严重地影响了粉末的进一步堆积和凹槽面上粉率。
而外表电荷调节剂则能够平衡或改进被涂工件外表的自在离子的累积,然后改进喷涂作用,使厚膜涂装也成为可能。
高分子外表的高外表电阻致使发生的静电荷很难排泄出去,一般能够经过以下办法取得。
①进步加工环境的湿度有利于按捺静电荷的发生和促使电荷的走漏;
②改进聚合物的结构,如引入极性化或离子化基团以进步导电性;
③在高分子资料中参加导电性资料如金属粉,碳黑等;
④添加抗静电剂进步资料的极性或吸湿性。
以上几种办法各具特点,其间湿气对资料的外表电阻或体积电阻影响很大,而有些办法如添加金属粉末或改进高分子资料等不是在任何运用场合下都能够轻松取得的,有局限性,而添加抗静电剂的办法最简单易行。
抗静电剂按亲水基能否被电离可分为离子型和非离子型。假如亲水基电离后带负电则为阴离子型,反之带正电则为阳离子型。
假如带有二个以上的亲水基而电离后又别离带有不同的电荷时则又分为两性离子型抗静电剂;
若不电离则称为非离子型抗静电剂,不论其怎么分类其作用原理基本相同,主要运用外表活性特征吸附空气中的水分,外表活性剂发生极化构成极薄的导电层,构成电荷走漏通道。
因而绝大多数的抗静电作用取决于化合物结构和环境的相对湿度。与吸湿机理比较,添加抗静电剂所发生的润滑作用而由此下降的冲突系数在一定程度上也按捺了静电荷的发生。
需求说明的是抗静电剂的添加量和高分子结构及运用环境相关,过多的导入会导致喷涂效率的下降乃至发生不吸附现象。
阴离子型抗静电剂一般有硫酸衍生物、磷酸衍生物和高分子量的阴离子型聚丙烯酸盐等。阳离子型则有季铵盐类、烷基咪唑啉类等。
非离子型则有脂肪酸、醇、烷基酚的环氧加合物,胺类衍生物等,在实践运用中绝大部分抗静电剂都归于阳离子型季铵盐类和阴离子磺酸衍生物。
特别是胺类的产品会对环氧系统发生催化作用或导致过烘烤黄变,同时过多的导入也会导致带电性下降然后影响吸附率。
因为在喷枪和工件之间存在着非常强的电场,因而静电涂装很难对拐角或凹槽处发生非常好的涂装作用;
而冲突带电喷涂能够较好地处理在类问题,因为冲突枪(tribo gun)不发生很强的电压,不会在工件外表邻近发生很强的电场以阻挠带电粒子的飞入。
冲突枪喷涂主要是经过粉末粒子在管道中冲突带电,对不同的树脂系统因为具有不同的带电作用,所以为了取得较好的带电率,咱们在涂料配方或树脂中参加一定量的冲突带电剂以进步冲突带电作用。
含氮化合物可显着改进冲突带电性,因而有些颜料乃至 ?-HAA都是有效地冲突带电物质。
为了避免含氮添加剂对含有环氧系统发生加快性,一般用受阴胺或胺醇类物质作冲突带电剂,某些光稳定剂如(HALS)如Ciba-Geigy的Tinuvin144一般也用作冲突带电剂运用。
有时为了加强冲突带电性,在配方系统中还参加少数高度分散的氧化铝粉末来添加冲突带电作用。
二、除粉末涂料本身的特性,此外影响粉末涂料上粉率的因数还与喷枪的类型、工艺参数、工件的形状以及喷涂办法有关。
(一)*电晕式”充电:采用一个高电压电场使周围的空气发生电离作用,引至带电离子的发生。
在喷涂时,当粉漆颗粒碰上这些处于不稳定状态的带电离子时,粉漆便会接受电荷充电。
静电喷涂的两个现象:
(1)静电屏蔽(左上),静电场中导体处于静电平衡时,导体内部场强为零,因而导体外部的电力线只能终止(或开始)于导体外表并与导体外表笔直,不能穿入导体而进入导体内部。
针对静电喷涂而言,即是当所需喷涂零件为一凹形零件,粉末在电力线的指引下很难进入凹位,然后发生此部分涂层薄乃至无法上粉。这方面咱们能够考虑经过冲突枪来处理。
(2)反向电离(右上),是由储存在工件外表的粉末层所发生的静电场而发生的,当粉末涂层厚度添加时,其所发生的电场也随之增强。
当到达足以电离周围空气时,就会好像高压导电针相同放电。带正电的离子就会向带负电的离子射来的方向运行。因而中和一部分粉末离子,限制粉末进一步喷上工件。
(二)喷枪的静电操控,可按工件的不同形状来设置。一般平板零件,80kV,100uA;有凹槽的复杂零件,80kV,22uA;重涂,40kV,100uA。
特别需求关注的是,国产喷枪当设定较低电压,需求进步电流时,会出现无法将喷枪电流保持在15uA以上,导致喷枪无法正常带电。一般情况下静电电流在15uA以上,均能到达充电。
(三)喷涂气流的操控:由以上论说能够以为,出份量的多少能够由喷涂的需求来调整,多数情况下,喷枪出粉量宜100-200g/min。辅佐气以不发生吐粉为宜,一般在4.0Nm2/hr。
需求指出的是加到喷枪导电针部分的三次气,其作用是整理导电针,使之不会因为静电原因发生粉末在枪尖部位积粉,特别是喷涂细银作用的金属粉。
并且因为是直接加到枪尖部位,以0,2为适宜,太大会导致已喷涂在工件上的粉末会再次吹落。
(四)其他影响因数:喷枪的距离也直接影响上粉率,喷枪距离工件越近,粉末上粉率越好,但跟着枪距近,反向电离和击穿现象加重。
工件的接地也影响到上粉功能,杰出的接地有利于粉末颗粒的吸附。此外影响因数还有工件形状,工件挂件密度,喷枪的位置设置等等。
4、上粉率查验办法
一、粉体粒度检测:
测验设备:干法&湿法粉体粒度仪。
测验办法:按设备操作规程。
越来越多的粉厂认识到粒度操控的重要性,粉体的粒度检测直接关系到粉末运用进程中的上粉功能,涂膜外表功能。
所以批次粒度操控尤为重要,经过在线粒度检测,实时调整设备参数,然后稳定粉体粒度,稳定客户运用工艺。所以一般粉末的均匀粒径操控在 35 ~ 45 μm 为宜 。
二、粉体流动性检测:
测验设备:粉体流动测验仪。
测验办法:按设备操作规程。与粒度检测类似,粉体流动性的检测许多粉厂重视缺乏。粉体流动性的定量检测,有利于批次稳定性操控,削减粉体流动性波动。
拟定出适合的操控规模,惯例的检测仪器规模在120以上。考虑粒度、气温及湿度影响,不少加,更不能多加流动助剂。
三、烧蚀份检测:
测验设备:马弗炉。此办法多用于涂装客户用来查验粉末的树脂份。
测验办法:称取一定量的粉末涂料,置于马弗炉内500度以上高温烧蚀,待有机物挥发彻底后,称量剩余物。
经过剩余物的分量判别树脂份含量,然后判别上粉功能的优劣。考虑到流平剂等功能助剂也会挥发掉,所以惯例的烧蚀残留量在30%左右。
四、死角上粉率测验

实验器件:实验室高压静电喷枪;铝板;夹子;电子天平;实验粉末涂料;
实验办法:运用一个专门规划的铝板,进行死角上粉率的测验实验,铝板中心凹槽深3cm,宽3cm,如上图所示。
喷涂前用夹子将三条铝片(宽3cm,长和铝板相同),别离固定在相应部位,两条坐落槽外,一条坐落槽后内壁上,然后在固定风量,电压下依据实验喷涂定量粉末。三条铝片在喷涂前和喷涂后别离称重,以测定粉末堆积量。
经过槽内后壁粉末堆积量M(internal)与槽外两条铝片上粉末量均匀值M(outer)进行比较,就能测出死角上粉率R=1表明死角上粉率好,R=0时表明静电屏蔽效应最大,死角上粉率简直为0。
五、弯板敲击:
因为金属颜料,特别是铝粉、铜粉导体的特性,在高压静电下带电性差,使得产品粉末涂料的带电性下降。在客户运用时会形成上粉差、链条颤动掉粉等现象。
为了处理上述问题,在出厂前需求进行屡次从检测,其间一项就是对弯板进行敲击。
静电喷涂后的样板在敲击后需求对弯板进行烘烤,在敲击进程中怎么确保每次敲击的力度相同的问题和敲击后对弯板移动影响检测作用的问题需求处理。比较粉末的掉落的面积。得出粉末带电性的等级。
六、粉体电阻率:
实验器械:压片机+电阻测验仪
实验办法:称取一定量的粉末,用压片机压成粉饼。用电化学站电阻测验仪称量电阻R,再换算成粉体电阻率。优异上粉率粉体的电阻率应该操控在< 1 MΩ·cm。
此外还有许多一下检测办法,例如看落地粉的分量、喷涂板厚涂膜的分量等等,笔者觉得办法只要有重复性,可操作性或可对比性,没有好坏之分,只要在客户运用前经过检测模仿出上粉率即可。
5、总结
综上所述,粉末涂料的上粉率与粉体本身的功能密切相关,也受到运用环境、工艺、工件设备等影响。
虽然复杂,但咱们作为粉末技术人,在从事着关乎绿色环境的环保职业,更有责任进步粉末涂料职业的拓展,粉末的上粉功能关系到客户的运用感触和施工及运用本钱,相信在未来的涂料开展中,更多的职业和客户认识到漆改粉的优势,然后迎来粉末职业的新高峰。
上一篇:贝壳粉环保涂料是什么?
下一篇:如何选购贝壳粉环保涂料?万彩网
我们位于:广东省东莞市横沥镇田坑园林路3号
Copyrigh © 2020万彩网 版权所有 ALL RIGHTS RESERVED 技术支持:【网站地图】
